අපි ක් රියාත්මක කරන්නේ, ආරක්ෂිත මෙහෙයුම් ක් රම, සහ KYN28-12 මධ් යස්ථානයේ පරාමිතීන්

Use environmental conditions
◆ උෂ්ණත්වය: ඉහළ සීමාව 40 ° C පහළ සීමාව - 10 ° C සාමාන් ය ප් රදේශවල:
◆A.ltitude: 1000m;
◆Humidity:
සම්පූර්ණ කාමරය: දිනපතා සාමාන් ය 95%ට වඩා වැඩි නොවේ, මාස සාමාන් ය 90%ට වඩා වැඩි නොවේ;
වතුර පීඩනය: දිනපතා සාමාන් ය සාමාන් යය 2.2KPaට වඩා වැඩි නොවේ, මාස සාමාන් ය සාමාන් ය 1.8KPaට වඩා වැඩි නෙමෙයි.
උෂ්ණත්වය බිම වැටෙන විට, සමඟ කිට්ටුවෙන්, මෙම නිෂ්පාදනය පහත සඳහන් සාමාන් ය තත්වයන්ට වඩා දරුණු තත්ව දෙකකට සුදුසුයි.:
(1). සාමාන් යයෙන් දෙවරක් දෙපාරක්වත් නොවෙයි) මෘදු ජීවය සමඟ;
(2). සාමාන් යයෙන් බරපතළ දූෂණය සමඟ (අවුරුද්දකට දෙවරක් වඩාත් නොමැති)
◆ ගින්න, පිපිරීමේ අනතුරක් හා ලෝහය වැලඳීමට හා හා හා වෙනත් දරුණු ස්ථාන තැනක් තබාගැනීමට ප් රමාණවත් නැහැ;
◆ ප් රචණ්ඩත්වය හා ස්වභාවික හැඟීම් හා ස්වභාවික හැඟීම් හා 80කට වඩා වැඩි වන්නේ නැත;
Note: (1) Storage and transportation are allowed at -30°C;
(2) උස ක් රමය 1000 m වැඩි වෙද්දී, එය JB/2102 අනුව පාලනය කරයි. උපකරණ "; උස 2000 m අඩු නැති විට, අඩු පීඩනය සහයක උපකරණය කිසිම පියවරක් ගන්න අවශ් ය නැහැ;
(3) භාවිතයෙහි සැබෑ තත්වයන් ඉහළට වඩා වෙනස් වන විට, එය පරිශීලකයා සහ නිෂ්පාදකයා අතර ගණුදෙනු විය යුතුයි.
ආදර්ශ සහ අර්ථය
K Y N 28 - 12/ □ - □
└─Rated Breaking Short Circuit Current (KA.)
└─Rated Current (A.)
└─Rated voltage (KV).
└─Design serial number
└─Indoors
└─ Move the type
└─Metal armor
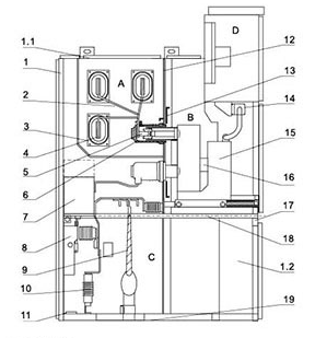
Schematic diagram of the structure of the මාරුකරු
Figure 1

A.. Circuit breaker compartment B. Busbar compartment
C. Cable room D. Relay instrument room
1. Busbar 2. Static contact disc 3. Circuit breaker
4. Grounding switch 5. Current transformer
6. Capacitive voltage divider 7. Lightning arrester
Fig.2 Schematic diagram of මාරුකරු structure

1. Housing 2. Branch small busbar 3. Busbar sleeve 4. Main busbar
5. Static contact device 6. Static contact box 7. Current transformer
8. භූමිය ස්වේච් 9. කේබ්ල 10 . ප් රධාන බස්න
12. 13 පූර්ණය බාධකය (ෆ්ලප්) 14. ද්විතීය ප්ලගීනය
15. චාරික බ් රෑක් 17 වන විට තිරස්ථ ප් රමාණය:
18. Grounding switch operating mechanism 19. Base plate
A..බස්බාර් කාමර බී. C. ඩී. යොදාගමන කාමරය
1.1. Pressure relief device 1.2. Control small trunking
ප් රමිති අනුකරණය කරන්න.
The product meets the following standards:
1.IEC-298
2.GB3906-1991
3.DLT404-19974. GB/T11022-1999
Primary wiring scheme
| Scheme number | 001 | 002 | 003 | 004 | 005 | |
Primary route diagram |
| |||||
| Rated current (A.). | 630-4000 | |||||
One වේලාව host want electricity utensil Yuan item | Vacuum circuit breaker | 1 | 1 | 1 | 1 | 1 |
| Current transformer LZZBJ9-12 | 2 | 2 | 2 | 3 | 3 | |
| Voltage transformer RZL/REL | ||||||
| High Pressure Breaker (XRNP □) | ||||||
| Grounding Switch (EK6/JN15-12) | 1 | 1 | 1 | |||
| Surge arrester HY5WZ-17/45 | 3 | |||||
| use | Receiving power and feeding power | Receiving power and feeding power | Receiving power and feeding power | Receiving power and feeding power | Receiving power and feeding power | |
| Scheme number | 006 | 007 | 008 | 009 | 010 | |
Primary route diagram |
| |||||
| Rated current (A.). | 630-4000 | |||||
One වේලාව host want electricity utensil Yuan item | Vacuum circuit breaker | 1 | 1 | 1 | 1 | 1 |
| Current transformer LZZBJ9-12 | 3 | 2 | 2 | 2 | 2 | |
| Voltage transformer RZL/REL | ||||||
| High Pressure Breaker (XRNP □) | ||||||
| Grounding Switch (EK6/JN15-12) | 1 | 1 | 1 | |||
| Surge arrester HY5WZ-17/45 | 3 | |||||
| use | Feed | Contact (right) | Contact (right) | Contact (left) | Contact (left) | |
| Scheme number | 011 | 012 | 013 | 014 | 015 | |
Primary route diagram |
| |||||
| Rated current (A.). | 630-4000 | |||||
One වේලාව host want electricity utensil Yuan item | Vacuum circuit breaker | 1 | 1 | 1 | 1 | 1 |
| Current transformer LZZBJ9-12 | 3 | 3 | 2 | 2 | 2 | |
| Voltage transformer RZL/REL | ||||||
| High Pressure Breaker (XRNP □) | ||||||
| Grounding Switch (EK6/JN15-12) | 1 | 1 | 1 | |||
| Surge arrester HY5WZ-17/45 | 3 | |||||
| use | Overhead Line (Right Contact) | Overhead Line (Right Contact) | Overhead entry and exit lines | Overhead entry and exit lines | Overhead entry and exit lines | |
| Scheme number | 016 | 017 | 018 | 019 | 020 | |
Primary route diagram |
| |||||
| Rated current (A.). | 630-4000 | |||||
One වේලාව host want electricity utensil Yuan item | Vacuum circuit breaker | |||||
| Current transformer LZZBJ9-12 | ||||||
| Voltage transformer RZL/REL | /3 | 2/ | /3 | 2/ | /2 | |
| High Pressure Breaker (XRNP □) | 3 | 3 | 3 | 3 | 3 | |
| Grounding Switch (EK6/JN15-12) | ||||||
| Surge arrester HY5WZ-17/45 | 3 | 3 | 3 | |||
| use | Voltage measurement surge arrester | Voltage measurement surge arrester | Voltage measurement surge arrester | Voltage Measurement (Left link) | Voltage Measurement (Right Link) | |
| Scheme number | 021 | 022 | 023 | 024 | 025 | |
Primary route diagram |
| |||||
| Rated current (A.). | 630-4000 | |||||
One වේලාව host want electricity utensil Yuan item | Vacuum circuit breaker | |||||
| Current transformer LZZBJ9-12 | 2 | 2 | 3 | 3 | 2 | |
| Voltage transformer RZL/REL | 2/ | 2/ | 2/ | 2/ | /3 | |
| High Pressure Breaker (XRNP □) | 3 | 3 | 3 | 3 | 3 | |
| Grounding Switch (EK6/JN15-12) | ||||||
| Surge arrester HY5WZ-17/45 | ||||||
| use | Measurement right couplet | Measurement left couplet | Measurement left couplet | Measurement right couplet | Measurement left couplet | |
| Scheme number | 026 | 027 | 028 | 029 | 030 | |
Primary route diagram |
| |||||
| Rated current (A.). | 630-4000 | |||||
One වේලාව host want electricity utensil Yuan item | Vacuum circuit breaker | 1 | ||||
| Current transformer LZZBJ9-12 | 3 | Capacitor Bm12.7-16-1 3 | ||||
| Voltage transformer RZL/REL | /3 | පරිවර්තකය 1 | /4 | /4 | ||
| High Pressure Breaker (XRNP □) | 3 | 3 | (XRNT)3 | 3 | 3 | |
| Grounding Switch (EK6/JN15-12) | 1 | 1 | 1 | |||
| Surge arrester HY5WZ-17/45 | 3 | 3 | 3 | |||
| use | Incoming metering | පරිවර්තන කැබිනට් භාවිත කළ (කෙබින්ට් පළල තීරණය කරයි විචල් ය ප් රමාණයේ ප් රමාණයට අනුව) | Capacitor cabinets | Voltage measurement surge arrester | Voltage measurement surge arrester | |

◆A. handcart වර්ෂ CNC යන්ත් රය මාර්ගයෙන් ක් රියාත්මක කරන ලද තැන්වලින් හැදෙයි. යෙදුමට අනුව, අත් වාර්තාවය බෙදුන්න පුළුවන් චාරිකා කාර්ට් එකට, වොලට් ෆ් රාම්ස්ට් රෝටර් හෑන්ඩ් රාට් එකට, මීටර් කාට්ටුව හා වෙනත් අත් වාර්තා වලින් එකම විශේෂත්වයක් අත් වාර්තාවට තනියම ස්ථානයක් තියෙනවා, පරීක්ෂණ ස්ථානයක් සහ කැබිනට් එකේ වැඩ කරන ස්ථානයක්, සෑම ස්ථානයකම ස්ථානයක් ලබා දී තිබෙන තත්වයක් ස්ථානය, ඒ වගේම අඩු වාර්තාව යවන්න ඕනා. |
|
◆B busbar ශාඛා කාර්යාලයක් හා සම්බන්ධ සම්බන්ධ තට්ටුවක් මාර්ගයෙන් බස් එක් ස්විච් කැබින් ස්ථාන ශාඛා කාර්යාල බස් එක තත්වය සහ ප් රධාන බස් එකට ලබා දෙනවා. පරිශීලකයා හා ව් යාපෘතියට විශේෂ අවශ් යතා තිබෙන විට, බස්බාර් එකේ සම්බන්ධ බෝට්ටු ඉන්දියාව හා අවසාන කැප්ටවලින් ඇතුළත් විය හැකියි. බස්බාර් එක ස්විච්ජියර් කොටස් පරාජය කරද්දී, ඒක බස්බාර් එකක් ස්ථානය කරලා තියෙනවා. අභ් යන්තර වැරැද්දක් නම්, එය අනතුරේ පැතිරීම අසල කැබිනි |
|
◆C cable room වර්තමාන ෆ් රොන්ඩර්, භූමික ස්විච්, අකුණු අත්අඩංගුවට ගත්ත කේබල් කාමරයේ ස්ථාපනය කරන්න පුලුවන්, ඒවගේම ඉවත් කළ හැකි අලුමිනියම් පාලක සමඟ කැබල් කාමරයේ පහලට සූදානම් කර තිබෙනවා. |
|
◆D Relay instrument room ප් රේරිත භාණ්ඩ කාමරය විවිධ ප් රවාහන, උපකරණ, සංඥා සංඛ් යාව, ක් රියාශීර්වාද හා වෙනත් කොටස් ස්ථානය කිරීමට යොදාගනියි. ඊට අමතරව, කුඩා බස්බාර් කාමරයක් ඒ වගේම පාලනය දහස් හයක බස් එකක් දාන්න පුළුවන්. |
|
◆Lock structure මධ් ය දොර සහ කැබිනට් එක අතර සම්බන්ධය අගුළු හදවතක් ගන්නවා, ඒ වගේම මැද දොර දොර විවෘත කිරීමට සුදුසුයි, මැද දොර වහලා වහලා, ඒකට සහ කැබිනට් එක අතර සම්බන්ධ ශක්තිය හොඳයි, ඒකෙන් බලාපොරොත්තුවට විරුද්ධ වෙන්න හැකියාව දියත් කරනවා. |
|
◆D Relay උපාංග කාමරය දොර වහලා තියෙන්නේ මෙම කාමරය ඉදිරි දර්ශනය. | ◆Pressure relief device කේබල් කාමරයේ අභ් යන්තර වර්ගයක් තියනවා, ස්ච්ජර් එක ඇතුලෙ වාත පීඩනය උසයි, ඒ වගේම යම් පීඩනයක් ලබාගත්තට පස්සේ, ඉහළ උපකරණයේ පීඩනය නිදහස් කරන ලෝහ තත්වය ස්වයංක් රීයව විවෘත කරනු ඇත ක් රියාකාරකම් සහ ස්විච්ජියර්. |
