අපි ඉදිරිපත් කරමු, ආරක්ෂිත මෙහෙයුම ක් රම, සහ HXGN-12 මධ් යස්ථානයේ පරාමිතීන්
1. Scope of use

HXGN□-12 (F. ආර්) පෙට්ටි වර්ග ස්පාඤ්ඤයේ A.C ලෝහ වැසූ ස්විච්ජයර් ( "රංචි ජාල කැබින්න් නිර්මාණය කරලා නගර බලය ජාතික ස්ථානය සඳහා. ඒක යොදාගන්නේ වර්ධනය, කෙටි වර්ග චාරිකාව සහ වසාන කෑම වර්ගයක් විදිහට, ඒ වගේම A.C 3-10KV, 50 Hzt බලය බෙදාහරින පද්ධතියට සුදුසුයි. එය නගර ජාල ජාතික ගොඩනැඟිලි හා නැවත නැවත ව් යාපෘතිය, ව් යාපෘති සහ මිනිස් ක් රම, උසස් ගොඩනැඟිලි සහ ප් රසිද්ධ නිවැරදි, ඇයි. විද් යාත්මක උපකරණ ශක්තිමත් යුක්තියක් හැටියට, විද් යාත්මක උපකරණ සම්පූර්ණයෙන්, ඒ වගේම කලින් ස්ථාපනය කරපු ස්ථාන වලත් ස්ථාපනය කරන්න පුළුවන්. මේ ජාල කැබිනි ඒක අත්පොතෙන් හෝ විදුලි විද් යුත්වය හැක. භූමික ස්විච් සහ තනියම ස්විච් එකේ තත්වයක් මේ ජාල කැබිනට් එකේ සම්පූර්ණ සංඛ් යාව ශක්තිමත් පොඩියි. පිපිරීමට හා පිපිරීමේ අවදානමක් නැහැ, ඒ වගේම ඒකට විශ්වාසවන්ත "පහක්" ක් රියාවක් තියෙනවා. මේ ජාල ජාල කැබින් හයි වොල්ටෙජ් A.C ලෝඩ ස්විච්-Fuse සම්බන්ධයෙන් විදුලි උපකරණ " සම්මත.
2. Model and its meaning
HXGN□-12(F.R)
H: Ring network
X: Box type
G: Stationary
N: Indoor
□: Design සීරිය අංකය
12: වැටීම
(F.R): Load switch-fuse combination
3. භාවිත කරන සාමාන් ය තත්වය
1. A.mbient air temperature: -15. 0 40℃;
2. A.ltitude: 1000m and below;
3. ශක්තිමත් තත්වයන්: දිනපතා සාමාන් ය 95%ට වඩා නෙමෙයි, දිනපතා සාමාන් ය වතුර පීඩනය 2.2 kPa, මාස සාමාන් ය 90%ට වඩා නෙවෙයි, මාස සාමාන් ය වතුර පීඩනය L 8kPa වඩා වැඩි නෙමෙයි;
4. Earthquake intensity: no more than 8 degrees;
5. There are no obvious pollutants such as corrosive or flammable gases.
සලකුණු: ඉහත පාවිච්චි කිරීමේ සාමාන් ය තත්වයන් අඩු වුණොත්, පරිශීලකයා සමාගම සමඟ කතා කරන්න පුලුවන්.
4. Main technical parameters
සීරිය අංකය | නම | එකක | data | |
1 | වැටීම | KV | 12 | |
2 | දැනට භාවිතය | ස්විච්කරය පූරණය කරන්න | A. | 630 |
Combined මාරුකරු | 125 | |||
3 | Rated short-circuit breaking current | KA. | 31.5 | |
4 | Rated active load breaking current | A. | 630 | |
5 | කෙටි කාලීනීම | KA. | 20 | |
6 | වර්තමාන සිටීම | KA. | 50 | |
7 | The rated power frequency is rated to withstand voltage interphase, ground/break | KV | 42/48 | |
8 | Lightning shock is resistant to voltage phase, ground/break | KV | 75/85 | |
9 | Mechanical life | වේලාව | 10000 | |
10 | Rated Handover Current (Combined A.ppliances) | A. | 3150 | |
11 | How it works | Manual or electric | ||
12 | ආරක්ෂක මට්ටම් | IP3X | ||
5. Structural characteristics (as shown in Figure 2 and Figure 3)
1. Structural performance characteristics
1.1.1 මුදු ජාල කැබිනට් එකේ 8MF පැතිකඩ අනුකරණය කරනවා, මුළු රාමුවම මොඩුස් හිල් B = 2 (tan).
L1.2 කැබින්න් ස්ථානය, ඒකට තනියම ස්විච් එකක් තියෙනවා, වක්කුම් තොරතුරු ස්විච් එකක්, සම්බන්ධ ස්විච් සහ භූමික ස්විච් එකේ පැහැදිලි විවේකයක් තියෙනවා.
1,3 තනියම ස්විච්, වක්කුම් තොරතුරු ස්විච්, භූමික ස්විච්, ඒ වගේම දොරටුව පරිපූර්ණ, විශ්වාසය තැබීම හා සමාන උපකරණ තියෙනවා.
1.1.4 It can be operated manually and electrically.
1. L5 කැබිනි
1.1.6 ෆුසී සම්බන්ධ විදුලි කැබින් කෙටි චාරිකාවක් තුළ, වෙඩි තියන පින් එක වැටෙනවා ඉක්මනින් විවෘත කිරීමට හා බිදීම ලබාගන්න, ඒකෙන් බලපෑමෙන් විදුලි උපකරණ ආරක්ෂා කරන්න පුළුවන්.
1.L 7 ring mesh cabinet adopts front operation, reliable wall installation.
2. "Five prevention" locking function
2.1 ශක්තිය සම්ප් රේෂණය: කැබිනි ග් රන්ඩ් ස්විච් එකට ක් රියාත්මක වන්නේ " විවෘත" ස්ථානයට, පුද්ගලය ස්වච්යය ක් රියාත්මක කරන්න පුලුවන්.
2.2.2 ශක්තිමත් මෙහෙයුම: දුර ස්විච් එක් තත්වයක සිටින විට, භූමික ස්විච් වහන්න පුළුවන්, ඒ වගේම භූමික ස්වේච් වසා තත්වයක සිටින විට, කැබිනට් දොර විවෘත කිරීමට ස්ථානයට ඇතුළත් කරයි.
2.1. 3 වැක්කෝම් බාධාකරුවා තනියම පිහිය සමඟ සම්බන්ධයි, තනියම පිහිය සහ බිම පිහිය එකිනෙකාට සම්බන්ධ කරලා කැබිනට් දොරත් එක්ක සම්බන්ධ කරලා, ඒ වගේම කැබින දොරත් එක්කම සම්බන්ධයි.
![]() | Figure 2 A.: Insulator B: Through the wall casing C: Operating mechanism D: Grounding switch |
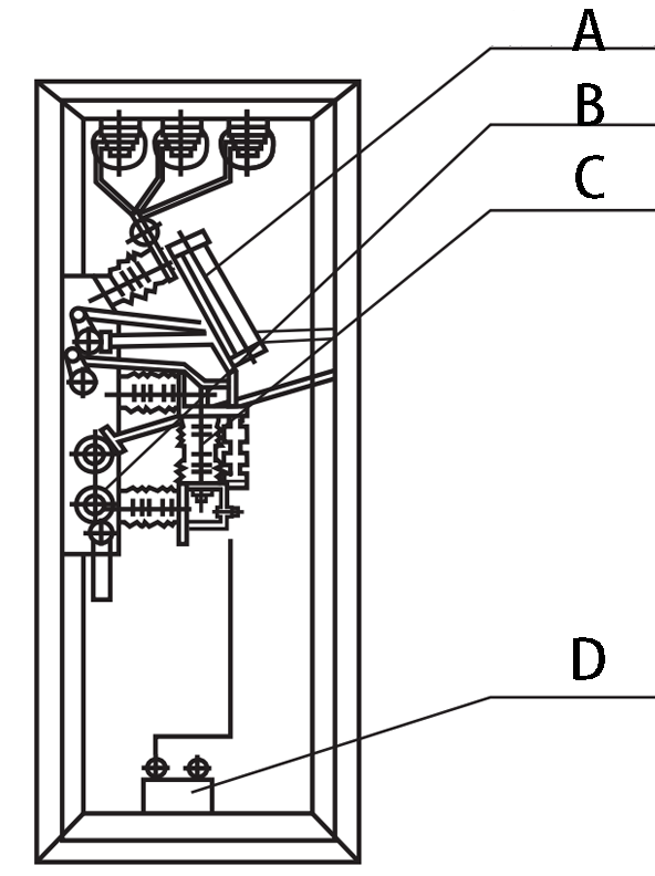
![]() | Figure 3 A.: Fuse (isolation knife gate) B: Bullet control mechanism C: Load switch D: Current transformer |
6. The principle of ring network power supply
ජාල ජාල සැපයුම < මූලික එකක තුනක් ඇතුළත් වන්නේ (සිංහලය බලන්න) ඇතුළු හා ලකුණු කැබිනට් වලින් යොදාගන්නවා ජාලක යුනිකන විදිහට, ඒක වැරදි වරදක් සිදු වන විට, තවත් එකකයක් තහවුරු කරනවා පරිශීලක ශාඛා කාර්යාලය ශාඛා කාර්යාලය. පරිශීලීන ජාල කැබින් මුදු ජාල කැබිනට් එක වැදගත් විදිහට පුලුවන්, සහ පරිශීලක අවශ් යතා අනුව පරිශීලක අනුව විවිධ සංවිධාන ක් රමවලින් සාදන්න පුළුවන්.
![]() | ||
| කේබල් ඇතුලත හා නිෂ්පාදක කැබිනට් පරිශීලක ශාඛා කැබින්න කැබිල් ඇතුළත් සහ පිටවීමේ ලකුණු කැබින් |
7. Main circuit scheme diagram
Scheme number | 01 | 02 | 03 | 04 | 05 | 06 |
Main circuit scheme diagram | ![]() | |||||
use | Cable in and out of the line | Cable in and out of the line | Cable in and out of the line | Cable in and out of the line | Cable in and out of the line | Cable in and out of the line |
Isolation/load/combination appliances | GN□-12D | GN□-12D | GN□-12D | FZN21-12D | FZN21-12D | FZN21-12D |
Fuse | RN3 | RN3 | ||||
Current transformer | LZZBJ9 | LZZBJ9 | ||||
arrester | HY5W | |||||
Scheme number | 07 | 08 | 09 | 10 | 11 | 12 |
Main circuit scheme diagram | ![]() | |||||
use | Cable in and out of the line | Cable in and out of the line | Cable in and out of the line | Cable in and out of the line | Cable in and out of the line | Cable in and out of the line |
Isolation/load/combination appliances | FZN21-12D | FZN21-12D | FZN21-12D | FZN21-12D | FZN21-12D | GN□-12D |
Fuse | RN2 | RN2 | RN2 | |||
Current transformer | LZZBJ9 | LZZBJ9 | LZZBJ9 | LZZBJ9 | ||
Voltage transformer | JDZ | JDZ | JDZ | |||
arrester | HY5W | HY5W | HY5W | |||
Scheme number | 13 | 14 | 15 | 16 | 17 | 18 |
Main circuit scheme diagram | ![]() | |||||
use | metering cable inbound and outbound lines | Cable in and out of the line | Cable in and out of the line | Cable in and out of the line | metering cable inbound and outbound lines | Overhead incoming cable outlet |
Isolation/load/combination appliances | FZRN21-12 | FZRN21-12D | FZRN21-12D | FZRN21-12D | GN□-12D | |
Fuse | RN2 | S□LA.J | S□LA.J | S□LA.J | RN2 | RN3 |
Current transformer | LZZBJ9 | LZZBJ9 | LZZBJ9 | LZZBJ9 | ||
Voltage transformer | JDZ | JDZ | ||||
Scheme number | 19 | 20 | 21 | 22 | 23 | 24 |
Main circuit scheme diagram | ![]() | |||||
use | Overhead incoming cable outlet | Overhead incoming cable outlet | Overhead incoming cable outlet | Overhead incoming cable outlet | Overhead incoming cable outlet | Overhead incoming cable outlet |
Isolation/load/combination appliances | FZRN21-12D | FZRN21-12D | FZRN21-12D | FZRN21-12D | FZRN21-12D | FZRN21-12D |
Fuse | S□LA.J | S□LA.J | S□LA.J | S□LA.J | ||
Current transformer | LZZBJ9 | LZZBJ9 | LZZBJ9 | LZZBJ9 | ||
Voltage transformer | ||||||
Scheme number | 25 | 26 | 27 | 28 | 29 | 30 |
Main circuit scheme diagram | ![]() | |||||
use | contact | contact | Measurement and liaison | Measurement and liaison | Overhead line contact | Overhead line contact |
Isolation/load/combination appliances | FZRN21-12 | FZRN21-12D | FZRN21-12D | FZRN21-12 | ||
Fuse | S□LA.J | RN2 | RN2 | S□LA.J | ||
Current transformer | LZZBJ9 | LZZBJ9 | ||||
Voltage transformer | JDZ | JDZ | ||||
8. Shape and installation size
1. The overall size of the ring network cabinet
![]() | ![]() | Cabinet width direction |
| Description: The height can be selected | cabinet depth direction |
2. Installation size of ring network cabinet
![]() |
| Note: The channel steel should be reliably grounded |
